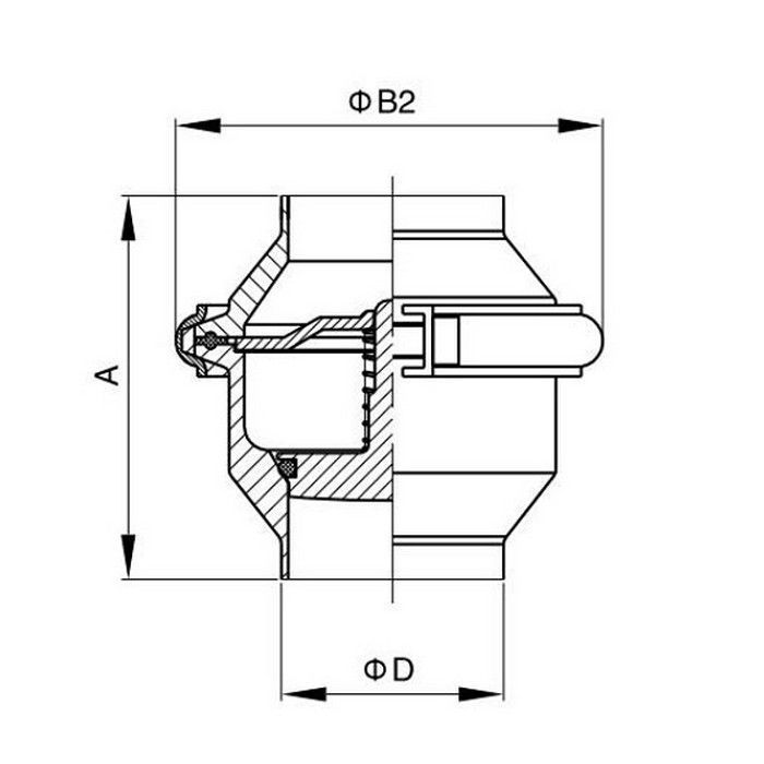
Устройство пищевого тарельчатого обратного клапана
Механизм клапана обратного нержавеющего состоит из штока, плоской тарелки и пружины. Когда жидкий продукт, например молоко, подается в трубопроводную систему, то под действием рабочего давления тарелка сжимает пружину и приподнимается (молочный обратный клапан открывается). При прекращении подачи жидкости тарелка перекрывает проходное сечение под действием пружины. Весь механизм собран в муфте, состоящей из двух полумуфт (штуцеров) с кламповым соединением.
Кламп (CLAMP) — это винтовое зажимное соединение на хомутах. Обеспечивает быстрый и удобный монтаж/демонтаж трубопроводов и встроенного оборудования.
Соединение данного вида состоит из двух штуцеров (полумуфт) или двух концов труб, подготовленных под кламп-соединение, хомута и уплотнителя. На фото сборный хомут прижимает две половинки обратного клапана к уплотнителю, обеспечивая герметичность соединения.
Обратные клапаны типа "сварка-сварка"
|
Вид со стороны крепления пружинного блока
|
Вид со стороны тарелки |
Преимущества обратного клапана для пищевых продуктов с врезкой «сварка-сварка»:
-
надёжная герметичность,
-
небольшая масса и габариты соединения,
-
невысокая стоимость.
Недостатки обратного клапана пищевого с врезкой «сварка-сварка»:
-
требуется высокая квалификация монтажника,
-
сложный процесс демонтажа соединения
Обратные клапаны типа "clamp-clamp"
<
Преимущества клапана с врезкой «clamp-clamp»:
-
быстрый монтаж и демонтаж,
-
высокая герметичность.
-
не требует высокой квалификации монтажника.
Недостатки клапана с врезкой «clamp-clamp»:
-
необходимость регулярного контроля и замены уплотнений,
-
относительно большие габариты.
-
относительно высокая стоимость.
Соединение "clamp-clamp" позволяет регулярно осуществлять демонтаж и очистку, дезинфекцию продуктопровода и встроенного в него оборудования. Это важно в пищевой и фармацевтической отрасли, где это требуется часто осуществлять по регламенту санитарных норм.
Применение
Пищевые обратные клапаны Titan Lock применяются вместе с дозаторами, расходомерами в пищевой, фармацевтической промышленности для перемещения, распределения, дозирования жидких продуктов. Другое назначение пищевых клапанов — технологическая промывка пищевых трубопроводов. Благодаря обратным клапанам возможна поэтапная прочистка отдельных участков продуктопровода.
Детали обратных клапанов Titan Lock выполнены из нержавеющей аустенитной стали AISI 304. Рекомендована для применения в средах с окислительным характером: яблочная, уксусная, лимонная, молочная кислоты низкой и средней концентрации.
Опытные специалисты TITAN LOCK проконсультируют, быстро подберут и порекомендуют наиболее оптимальный вариант пищевого обратного клапана для решения вашей производственной задачи.
