Преимущества камлоков:
- экономия времени на монтаж и разъединение по сравнению с резьбовыми соединениями — для работы не требуются специальные навыки и инструмент;
- герметичность системы даже при высоком давлении;
- доступность в различных размерах и конфигурациях — легко подобрать решение для различного типа оборудования.
Устройство камлоков
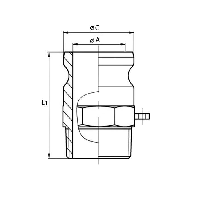
Соединение представляет собой быстроразъемный замок, состоящий из деталей:
- Ниппель («папа»). Цилиндрическая ответная часть с проточкой для фиксации кулачками муфты. На противоположном конце штуцера расположено крепление для трубопровода, рукава или фланца.
- Розетка («мама»). Приемная часть оснащена кулачковыми фиксаторами, которые при повороте плотно прижимают штуцер и обеспечиваю герметичное соединение. На противоположной стороне — крепление для подключения к трубопроводу.
- Уплотнение. Резиновая деталь, устойчивая к воздействию рабочих сред и перепадов давления.
- Рукоятки фиксации. Ими оснащены розетки. Рукоятки предназначены для надежной фиксации при соединении розетки и ниппеля.
Виды камлоков

Камлоки изготавливают из нержавеющей стали марок 304 и 316, полипропилена, латуни, алюминия. Стандартные размеры камлоков — в диапазоне от 13 до 150 мм. Для стыковки трубопроводов разных диаметров предусмотрены специальные переходники. Максимальное рабочее давление — от 5 до 18 бар в зависимости от материала и типоразмера изделия.

Типы камлоков:
- А — ниппель с внутренней резьбой;
- B — розетка с наружной резьбой;
- С — розетка с хвостовиком под шланг;
- D — розетка с внутренней резьбой;
- E — ниппель с хвостовиком под шланг;
- F — ниппель с наружной резьбой;
- DP — заглушка для розетки;
- DС — заглушка для ниппеля;
- FA — ниппель с фланцем;
- FC — розетка с фланцем.
Как выбрать камлоки и выполнить монтаж?
Правильно подобранное соединение не вызывает проблем при монтаже. Обеспечивает надежность и герметичность, долгий срок службы трубопровода.
Определите подходящий тип и размер камлока в соответствии с конструкцией и диаметром трубопровода. Обязательно учитывайте рабочее давление в системе — оно должно соответствовать техническим характеристикам выбранного фитинга.
Как установить камлоки:
- Подготовка. Тщательно очистите и просушите соединяемые поверхности шлангов. Убедитесь в отсутствии заусенцев и загрязнений, которые нарушат герметичность соединения.
- Установка розетки. Наденьте приемную часть на шланг и зафиксируйте ее с помощью хомута.
- Присоединение ниппеля. Вставьте ответную часть в муфту, зафиксируйте соединение рукоятками. Убедитесь, что кулачки полностью захватили проточку на штуцере.
- Проверка герметичности. Перед началом эксплуатации подайте небольшое давление в систему.
Покупайте надежные камлоки Titan Lock в нашем интернет-магазине. Консультанты предложат оптимальный вариант, ответят на все интересующие вопросы.