Разновидности моющих головок
Компания TITAN LOCK предлагает клиентам разные типы моющих головок для емкостей различного исполнения.- Статические моющие головки или спрейболы. Оборудование обладает первым классом очистки и работает на небольшом давлении – это значит, что данные комплектующие отлично справляются с лёгкими загрязнениями. Статические головки используются для ополаскивания, распыления моющих средств или обработки емкостей паром.
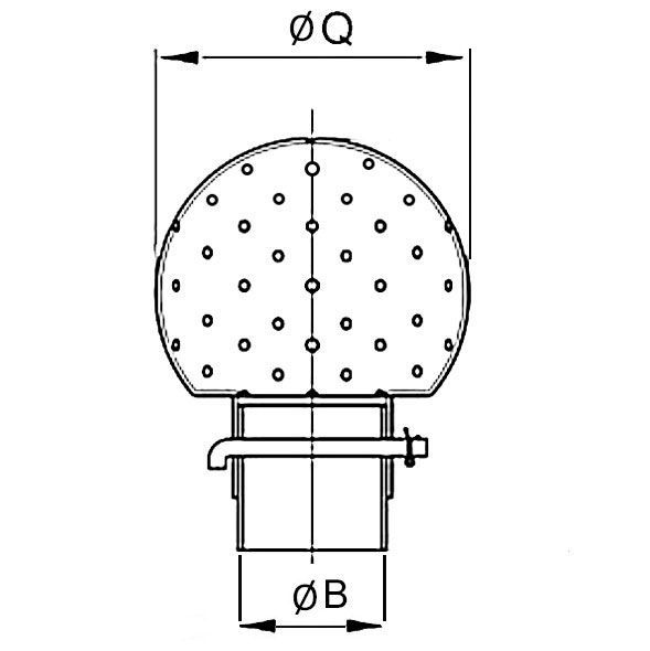
Моющая головка TL28/12WHСP TITAN LOCK. Имеет шар диаметром 28 мм, который обеспечивает разбрызгивание жидкости на все 360 град. Рассчитана на присоединение с помощью шплинта, DN12. Сделана из пищевой нержавеющей стали.
- Моющие щелевые головки. Подают плоскую мощную струю, которая за счет вращения равномерно распределяет потоки воды по всей площади емкости. Эффективность устройств соответствует второму классу очистки. Это означает, что они справляются с загрязнениями средней сложности или жидкими загрязнениями, не создающими пригар на стенках сосуда.
Моющая головка щелевая вращающаяся TLRWH63TH1.1/2 TITAN LOCK имеет диаметр 63 мм и рассчитана для подключения к резьбе BSP 1.1/2". Устройство изготовлено из пищевой нержавеющей стали.
- Ротационные моющие головки. Отличаются наивысшим классом очистки, что обеспечивается за счет подачи струи под высоким давлением с одновременным вращением сопел. Ротационные головки справляются даже с самими серьезными загрязнениями. Их эффективность, как минимум, в 3 раза выше статических.
Моющая головка струйная ротационная TL50WHRS TITAN LOCK отличается S-образным исполнением и рассчитана для подключения к резьбе BSP 2". Материал – пищевая нержавеющая сталь.
Для очистки больших ёмкостей или резервуаров со сложной конструкцией могут комбинироваться сразу несколько видов моющих головок. Несмотря на производительность моющие головки вращающиеся для емкостей, а тем более ротационные, имеют высокий расход жидкости, используемой для очистки. Поэтому так важно правильно рассчитать количество и подобрать типы моющих головок эффективные для вашего производства.
Заказывая моющую головку вращающуюся или статическую в TITAN LOCK, вы покупаете у непосредственного производителя. Это сертифицированная продукция, которая отвечает заявленным характеристикам и требованиям, предъявляемым к оборудованию для пищевой промышленности. Наши специалисты всегда квалифицированно проконсультируют вас по подбору моющих головок и других комплектующих для пищевого производства.


