Обратные клапаны устанавливают в системах водоснабжения, отопления и канализации. Их используют при подключении сантехнических приборов, насосов и водонагревателей. Область применения обширна — от бытовых нужд в квартирах и частных домах до промышленных трубопроводов предприятий. Выпускают устройства для различных сред: горячей и холодной воды, пищевых продуктов, масел, газов, кислот и щелочей, нефти и продуктов переработки.
  Обратный клапан пищевой TITAN LOCK
 Обратный клапан пищевой TITAN LOCK
Что такое клапан обратного хода и как он работает?
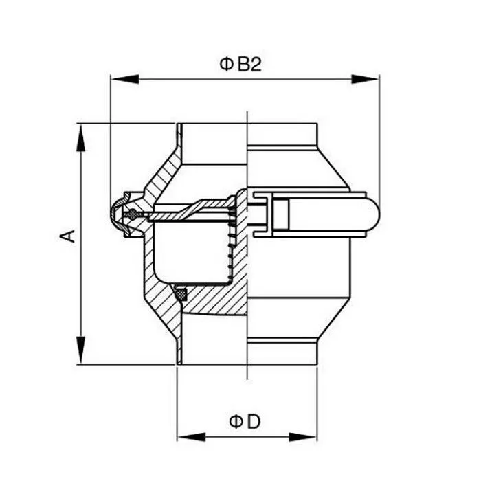
Клапан обратного хода состоит из запорного элемента с посадочной поверхностью. Конструкцию помещают в корпус из надежных материалов: нержавеющей стали, латуни, бронзы или ударопрочного пластика. Для герметизации арматуры применяют резиновые или пластиковые уплотнители. Механические устройства различаются номинальным диаметром (DN) — типоразмеры соответствуют стандартным сечениям трубопроводов.
Принцип работы обратного клапана:
- поток, который движется по трубе под напором и в нужном направлении, давит на запорный элемент, перемещая его. Проходное отверстие открывается, и рабочая среда свободно перемещается через устройство;
- если меняется направление потока или падает давление в системе, запорный элемент возвращается в исходное положение. Движение рабочей среды прекращается.
 Обратный клапан межфланцевый TITAN LOCK
 Обратный клапан межфланцевый TITAN LOCKДля чего нужен обратный клапан?
Трубопроводная арматура создает условия для стабильной работы систем. Основные функции обратного клапана:
- гашение гидравлического удара и снижение риска негативных последствий — повреждений трубопровода, разгерметизации обжимных соединений, поломки контрольно-измерительных приборов;
- поддержка стабильного рабочего напора в системе — сокращение расхода электроэнергии, потребляемой насосным оборудованием для компенсации оттока;
- защита от проникновения в трубопровод воздушных масс — завоздушивание приводит к ускоренной коррозии и растрескиванию элементов.
Разновидности конструкции обратных клапанов
Чтобы выбрать клапан обратного хода, нужно оценить особенности системы и цели установки. Важно знать, для чего предназначен тот или иной вид механического устройства.
Шаровой тип
Запорный узел выполнен в форме шара. Положение элемента внутри корпуса зависит от давления и направления потока. В нормальном режиме шар под напором уходит вверх, утапливается в специальное углубление и абсолютно не мешает протоку жидкости. В закрытом положении элемент под действием собственного веса перекрывает сечение трубы.
Преимущества обратного клапана шарового типа:
- минимальный риск поломки. Конструкция простая и надежная. Отсутствуют элементы, подверженные трению, быстрому износу или частым заклиниваниям;
- удобное обслуживание. Для чистки или замены шара предусмотрен технологический люк. Не нужно демонтировать и разбирать весь клапан.
Дисковый (пружинный) тип
Внутри корпуса находится диск с подпружиненным стержнем. Когда поток жидкости направлен в нужную сторону, пластина отжата и не препятствует протоку. При падении давления в системе пружина распрямляется и прижимает запорный элемент к седлу — проточное отверстие блокируется.
Преимущества обратного клапана дискового типа:
- низкая цена и отсутствие потребности в техобслуживании. В случае поломки детали из-за минеральных отложений или прочих примесей в жидкостях целесообразнее заменить ее новой;
- специальный механизм для плавного срабатывания пружины. Конструкция минимизирует риск гидроудара.
Поворотный (лепестковый) тип
Запорный механизм клапана представляет собой откидную пластину на шарнирах. При прямом потоке жидкости лепесток смещается в сторону, при обратном — возвращается на место под действием собственного веса и закрывает сечение трубы.
Преимущества обратного клапана лепесткового типа:
- в конструкции отсутствуют элементы, которые быстро изнашиваются или обрастают минеральными отложениями. Арматура не нуждается в обслуживании;
- низкая цена. Неисправное устройство целесообразно заменить новым.
Двустворчатый тип
Двустворчатый клапан — разновидность лепестковой конструкции. Запорный узел механизма состоит из двух пластин, закрепленных на поворотной оси. Стержень установлен посередине проходного отверстия. Створки схлопываются и пропускают поток с двух сторон, а при падении давления снова распахиваются.
Преимущества обратного клапана двустворчатого типа:
- высокое гидравлическое сопротивление. Механизм подходит для использования в сложных средах — плотной морской воде, вязкой нефти и т. д.;
- универсальная конструкция. Клапан эффективно работает в любом положении — при горизонтальной или вертикальной установке.
Типы по способу монтажа
От способа установки зависит применимость защитной арматуры в конкретной системе трубопровода. Встречаются три типа клапанов обратного хода:
- фланцевые — соединительные элементы выполнены в виде дисков. На ободе предусмотрены отверстия под болты. Фланцевые устройства отличаются повышенной прочностью, поэтому подходят для трубопроводов больших диаметров;
- муфтовые — фиксируются с помощью резьбы. Модели просты в установке, поэтому часто используются в бытовых водопроводных системах;
 Обратный клапан муфтовый TITAN LOCK
 Обратный клапан муфтовый TITAN LOCK Обратный клапан у-образный TITAN LOCK
Обратный клапан у-образный TITAN LOCK- сварные — технология обеспечивает абсолютную герметичность соединения. Область применения включает промышленные трубопроводы с высокими показателями рабочего давления и температур.
Особенности монтажа
Клапан обратного хода будет исправно выполнять свою функцию, если монтаж произведен грамотно. Нюансы, которые учитывают при проведении работ:
- при выборе места установки необходимо обеспечить свободный доступ к прибору для технического обслуживания, ремонта или замены;
- устройство монтируют по направлению потока. На корпусах приборов всегда есть подсказка — стрелка, которая указывает в нужную сторону;
- при уплотнении соединений нужно следить, чтобы прокладки не уменьшали диаметр отверстия трубопровода. Появление в системе узкого места приведет к повышению давления;
- при наличии в рабочей среде загрязнений и примесей перед клапаном монтируют очистной фильтр. Так устройство прослужит гораздо дольше.
Преимущества покупки в интернет-магазине Titan Lock
Покупка оборудования у проверенного продавца с хорошей репутацией — гарантированная защита от подделок и некачественной продукции. Консультанты Titan Lock помогут выбрать обратный клапан для промышленной или бытовой системы. Предоставят сертификаты для подтверждения качества, надежности и герметичности устройства. Оформят гарантию завода-изготовителя на покупку.
 
             
                             
                             
                             
                             
                             
                             
                             
                             
                             
                             
                             
                             
                             
                             
                             
                             
                                                     
                                                     
                                                     
                                                     
                                                     
                                                     
                                                     
                                                     
                                                     
                                                     
                                                     
                                                     
                                                     
                                                     
                                                     
                                                     
                                                     
                                                     
                                                     
                                                     
                                                     
                                                     
                                                     
                                                     
                                                     
                                                     
                                                     
                                                     
                             
                                                     
                                                     
                                                     
                             
                                                     
                                                     
                                                     
                                                     
                                                     
                             
                                                     
                                                     
                                                     
                                                     
                                                     
                                                     
                                                     
                                                     
                                                     
                                                     
                                                     
                                                     
                                                     
                             
                                                     
                                                     
                                                     
                                                     
                                                     
                                                     
                                                     
                                                     
                                                     
                                                     
                                                     
                                                     
                                                     
                                                     
                                                     
                                                     
                                                     
                                                     
                                                     
                             
                                                     
                                                     
                                                     
                                                     
                                                     
                                                     
                                                     
                             
                                                     
                                                     
                                                     
                             
                                                     
                                                     
                                                     
                                                     
                                                     
                                                     
									 
		 
                         
                 
                 
                 
                 
                         
                 
                 
                 
                 
                         
                 
                 
                 
                 
                         
                 
                 
                 
                 
                                
                                 
                                
                                 
                                
                                 
                                
                                 
                                
                                 
                                
                                 
                                
                                 
                                
                                 
                                
                                 
                                
                                 
                                
                                 
                                
                                 
                                
                                 
                                
                                 
                                
                                 
                                
                                 
                                
                                 
                                
                                 
                                
                                