Принцип работы камлока:
При повороте рукоятки на розетке, «мама» (выделено зеленым), в рабочее положение, кулачковый эксцентрик надавливает на выпуклый бортик проточки вставляемого ниппеля «папа» (слева), уплотнительное кольцо розетки сжимается, обеспечивая герметичность соединения. Соединение получается надёжным и виброустойчивым от случайного разъединения, что важно при гидравлических колебаниях, ударах в рукавных магистралях.
|
Камлок до соединение |
Камлок после соединения |
|
|
Применение
Изначально стандарт камлок был разработан как простое надежное устройство для обеспечения транспортировки воды и топлива в полевых условиях для армейских нужд. Затем получил повсеместное распространение во всех отраслях промышленности, сельском хозяйстве, на приусадебных участках, где необходимо многократное быстрое и надёжное соединение и разъединение рукавов, шлангов.
-
В пищевой промышленности для транспортировки пива, различных алкогольных и безалкогольных напитков, растительных масел.
-
Транспортировки чистой и загрязнённой воды, в ассенизации.
-
В нефтеперерабатывающей и химической промышленности для транспортировки химических жидкостей, лаков и красок, минеральных масел.
-
АЗС и топливохранилищах, нефтехранилищ.
-
Производство и транспортировка жидкого цемента, растворов, других строительных смесей.
-
Производство и эксплуатация автомобильных и судовых цистерн.
-
Для систем капельного полива и водопровода.
Конструкция
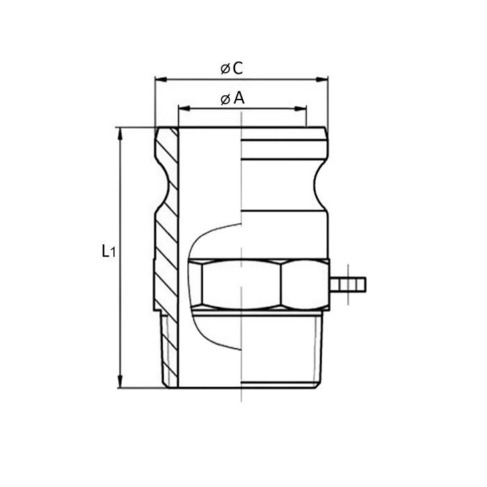
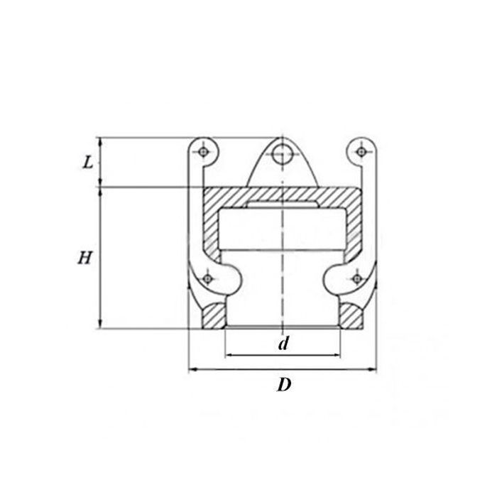
Камлок состоит из приемной части — розетки (мама) со штуцером для рукава или резьбой, вставной части — ниппеля (папа) со штуцером для рукава или резьбой и уплотнительного кольца. Для подсоединения к оборудованию ниппель и розетка камлока имеют наружную или внутреннюю резьбу, для соединения рукавов — соединение с хвостовиком типа «елочка». При необходимости камлок комплектуется заглушками для защиты от протекания.
По конструкции, типу присоединения БРС типа камлок делятся на:
ТИП А: ниппель с внутренней резьбой![]() |
ТИП D: розетка с внутренней резьбой![]() |
ТИП F: ниппель с наружной резьбой![]() |
ТИП B: розетка с наружной резьбой ![]() |
ТИП DP: заглушка для розетки![]() |
ТИП C: розетка с концом под рукав![]() |
ТИП E: ниппель с концом под рукав ![]() |
ТИП DC: заглушка для ниппеля![]() |
Переходник ТИП DA розетка тип D x ниппель тип А ![]() |
Переходник ТИП AA: ниппель тип А x ниппель тип А ![]() |
Кроме этого, выпускаются камлоки в угловом и фланцевом исполнении.
Применяемые материалы применяемые при производстве камлоков (ниппели и розетки):
-
Нержавеющая сталь SS 304 или 316. Широко применяется в отраслях промышленности с высокими санитарными требованиями и до температур 200 градусов.
-
Алюминий (AL). Для транспортировки воды, спиртовых растворов, продуктов пищевой промышленности. Маслобензостоек, поэтому применяется для транспортировки продуктов нефтехимии.
-
Полипропилен (PP). Высокая стойкость к химическим веществам определила его применение в химической промышленности. Также применяется в водоснабжении.
-
Латунь (Brass). Прочнее алюминия и полипропилена. Применяется для транспортировки нефтепродуктов и неагрессивных химических растворов. Данный материал также обеспечивает искробезопасность при работы со взрывоопасными средами.
-
Уплотнительное кольцо розетки изготавливается из маслобензостойких эластомера, неопрена или химически и термическистойких (до 260 град. С) витона, тефлона.
Размеры
Мы предлагаем БРС типа камлок с размерами резьбовой части от 1/2" до 8" и соответствующие ТУ 24.20.40-001-83804144-2020.
Стандарт резьбы:
BSP — европейский стандарт трубной резьбы
NPT — американский стандарт трубной резьбы
Опытные специалисты TITAN LOCK проконсультируют, быстро подберут и порекомендуют наиболее оптимальный вариант быстроразъемного соединения для решения вашей производственной задачи.









